当打工人还在纠结年终总结的措辞,家居行业的“顶层玩家”们已经用一场密集的人事变动,提前上演了年度职场大戏。
从2025年12月22日到31日,短短10天内,中天精装、美的集团、箭牌家居、瑞尔特、居然智家相继抛出人事调整公告,有26年“老兵”功成身退,有跨界新贵走马上任,还有家族掌舵人亲自挂帅——
这波年底“换岗潮”,与其说是巧合,不如说是行业在寒冬中的集体“调弦定音”。

中天精装:零薪董事长跨界救场
先看最有“反差感”的中天精装。
这家业绩堪忧的精装修服务商,在年末直接完成董事会“大换血”,新上任的董事长楼峻虎堪称“另类高管”——2024年从公司领取的薪酬为0元。
要知道,同批上任的总经理王新杰,去年薪酬可是98.3万元。

更有意思的是,这位零薪酬董事长的履历堪称“金融圈资深玩家”,从工行信贷副科长一路做到浦发银行分行大客户部总经理,如今跨界执掌家居装修企业,难免让人猜测:是不是要靠金融思维给这家前三季度净亏6205万元的企业“输血”?
反观新总经理王新杰,85后双学位背景加持,跨界履历同样亮眼,而深耕公司21年的“老臣”周雄跻身非独立董事,新旧搭配的组合,像极了企业在“求变”与“稳基”之间找平衡的谨慎试探。
美的集团:26年老兵高薪离场
美的集团的人事变动则多了几分“江湖唏嘘”。
12月26日,在美的干满26年的“老兵”伏拥军因个人原因辞职,瞬间引发行业哗然。

要知道,这位核心高管不仅手握20万股美的股票,市值超1740万元,去年税前薪酬更是高达1185万元,妥妥的“人生赢家”。
从环境电器事业部总经理到工业技术事业群总裁,伏拥军见证了美的的扩张与转型,如今在年底“功成身退”,难免让人联想:是长期高压下的“中场休息”,还是行业转型期的“战略分流”?毕竟在家居行业整体承压的当下,即便是巨头,也需要新鲜血液应对市场变化。
箭牌家居:家族掌舵共渡难关
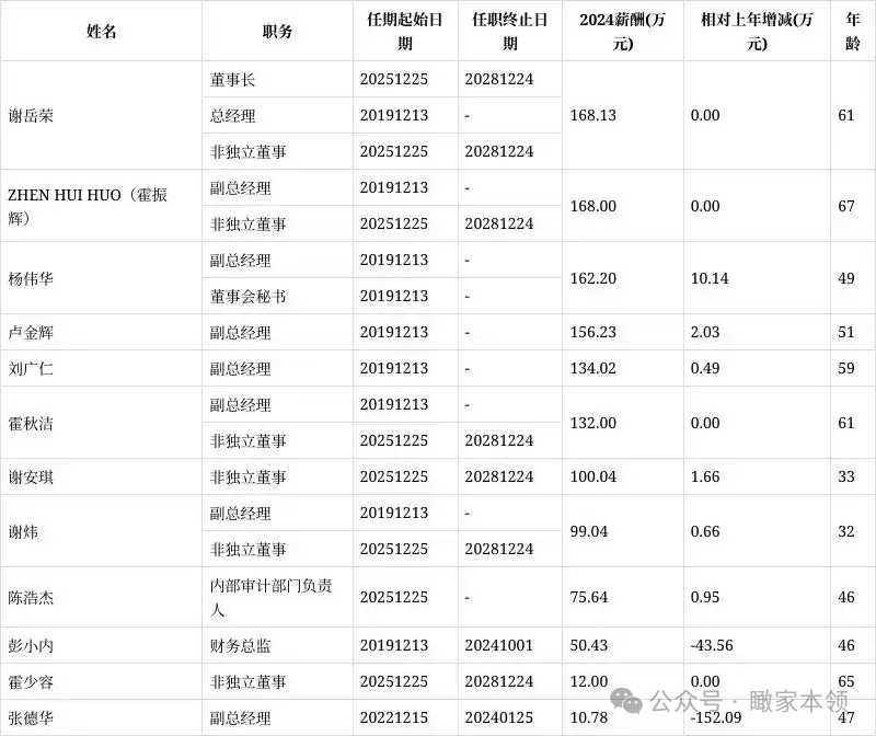
箭牌家居的换届则充满了“家族企业”的温情与紧迫感。创始人谢岳荣一身兼二职,既是董事长又是总经理,妻子霍秋洁、子女谢炜均跻身高管团队,一家人身兼企业核心管理岗,这份“全家总动员”的背后,是企业的经营困境。

2024年净利润创下七年来新低,ROE连续六年下滑至1.32%,前三季度经营活动现金流净额更是-5.6亿元。这位被誉为“中国卫浴脊梁人物”的创始人亲自挂帅,显然是要以“家族担当”稳住局面——毕竟,能突破连体马桶批量生产技术、主导国家863计划项目的领军者,未必甘心让自己一手创办的企业陷入困境。
瑞尔特&居然智家:内部优化提效
相比之下,瑞尔特和居然智家的变动更像是“内部优化”。

瑞尔特的罗红贞前脚辞任非独立董事,后脚就当选职工代表董事,岗位虽变但核心权责未减;邓光荣辞去副总经理仍留任董事,更像是“减负增效”的内部调整。

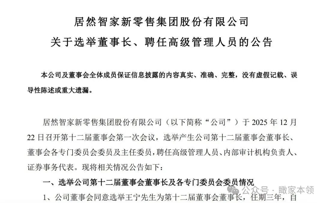
居然智家的王宁则是“高位让贤”,卸下执行总裁职务后,继续担任董事长和CEO,将精力集中在战略决策上——这位在居然之家深耕26年的老将,用这样的方式完成权责划分,或许是为了让企业决策更高效。

行业透视:换岗背后是生存战
调侃归调侃,这波年底换岗潮的背后,是家居行业无法回避的生存压力。
国家统计局数据显示,2025年一季度全国规模以上家具企业利润总额同比下降40.1%,营业收入利润率仅2.5%,创下近十年新低。上游房地产市场持续调整,下游消费需求疲软,叠加经销商体系瓦解、流量成本高企,家居企业正面临前所未有的高压态势。
在这样的背景下,人事调整就成了企业的“常规操作”:要么像中天精装那样,引入跨界人才寻求新突破;要么像箭牌家居那样,靠核心团队稳定军心;要么像居然智家那样,优化治理结构提升决策效率。
从行业发展逻辑来看,这波变动更是“规模扩张”向“质量重构”转型的必然。过去,家居行业依托房地产红利实现高速增长,企业比拼的是扩张速度;如今,行业进入深度调整期,合规化、精细化运营成为生存关键,对管理团队的能力提出了全新要求。
正如业内专家所言,家居行业的“渐进式洗牌”已全面开启,高管变动正是行业分化的重要信号——那些能及时调整管理结构、匹配市场需求的企业,才能在寒冬中站稳脚跟。
拥抱未来。
王天兵:这波换岗潮中也藏着行业的希望。中天精装引入金融背景高管,或许能探索出更健康的资金运作模式;箭牌家居的家族团队拧成一股绳,有望加速产品创新与渠道变革;居然智家的权责优化,能让战略落地更顺畅。所谓“乱世出英雄”,家居行业的这场年终“换舵”,未必是“过冬”的无奈之举,更可能是为下一轮复苏蓄力的“焕新”之举。
年底换岗不是终点,而是新的起点。对于家居行业而言,无论是“老兵”离场还是“新人”入局,最终都要靠业绩说话。当行业从“野蛮生长”回归理性发展,这些人事调整的效果,终将在明年的财报中见分晓。
而这场集体“调弦”,也让我们看到,即便身处寒冬,家居行业仍在积极寻找破局之路——毕竟,只有主动求变,才能穿越周期。
注:图片来源上市公司公告、网络及AI生成,如涉侵权,请联系删除。
特别声明:以上内容(如有图片或视频亦包括在内)为自媒体平台“真相网”用户上传并发布,本平台仅提供信息存储服务。
评论跟贴
网友评论仅供其表达个人看法,并不表明本站立场。