东方雨虹董事长李卫国一句话道破行业生死局?
10月13日,“无论在哪个发展阶段,东方雨虹的当务之急有三,一是生存,二是温饱,三是发展。因此,活在当下、专注为稻粱谋对东方雨虹无比重要。” 这是李卫国在东方雨虹公众号发表《目标与当下》里的一句话,突然成了建材圈最明智的 “生存箴言”。

毕竟在行业凛冬里,连财大气粗的央企都扛不住了——最近,华润建材科技突然宣布打包转让4家子公司100%股权,还搭上2亿多债权,这波 “断臂求生” 操作,和李卫国2024年年底回国救火的架势如出一辙,全是为了在寒冬里活下去。

央企民企同承压:
一边甩卖资产,一边市值腰斩
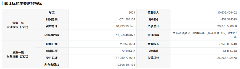
这次被建材央企华润摆上货架的4家子公司,简直是 “亏损合集” 现场:

• 润福建材(连江):2023年刚成立的 “新手”,不到两年就亏了5168万,堪称 “最快亏钱纪录保持者”;


• 华润智筑(南宁):15年的 “老资历”,3.73亿资产照样2024年栽了跟头;


• 华润智筑(湛江):2.48亿转让价里80%都是债权,妥妥的 “债比股重”,接盘侠得自带 “止血包”;
• 华润混凝土(方山):年产60万方的 “大块头”,近年也成了持续亏损的 “吞金兽”。


不只是华润,民营企业龙头防水大哥东方雨虹的日子更难熬。2024年12 月27日凌晨,李卫国顶着压力回国,面对的是市值从1600亿跌到300亿的惨状——这可是他创业30年来最狠的一次危机。
要知道东方雨虹手握上千项**,曾拿下85%的奥运防水工程,连水立方都用它的材料,和万华被称为“化学茅”一样被誉为“防水茅”。如今,万华还是那个“化学茅”,但东方雨虹却和华润一样,被逼到了 “保生存” 的关口。
行业寒冬有多冷?
产能过剩 + 价格战,谁都躲不过
建材行业现在的处境,用李卫国的话来说就是 “必须死磕当下”。到底难到什么程度?
• 产能过剩到离谱:全国水泥产能利用率跌破 50%,一半工厂在 “晒太阳”;防水行业更惨,2025 年上半年净利润直接暴跌39%,东方雨虹这类龙头都没能幸免。
• 价格战打到骨折:水泥从每吨500多块跌到243元,比白菜还便宜;防水卷材价格同比降幅超10%,中小企业要么跟风降价要么直接关门。
• 现金流比命金贵:过去房企赊账是常态,东方雨虹就曾栽在赊销上,应收账款堆成山。

现在李卫国咬牙推 “零垫资”,所有项目现款现货,这才把2024年经营性现金流拉到34.57亿元,同比涨了64.38%。
华润也一样,甩卖资产时连债权一起打包,说白了就是想快速回笼资金。
自救套路大比拼:
央企 “割肉” 聚焦,民企 “止血” 突围
别看都在 “过冬”,华润和东方雨虹的自救算盘打得各有章法,但核心都是李卫国说的 “专注稻粱谋”。
华润走的是 “减法换生机” 路线:把亏损的 “包袱” 果断甩掉,把资源砸向高毛利业务。比如骨料毛利率35.1%,是水泥的两倍多,所以华润直接砍了水泥产能目标,转头猛攻骨料和人造石出口。
同时还在南宁建高纯石英砂中试平台,押注半导体新材料赛道,这是典型的 “丢芝麻捡西瓜”。
东方雨虹则是 “刀刃向内挖潜力”。李卫国回国第一件事就是战略收缩,停掉所有非核心业务,把精力全放回防水、涂料这些老本行。组织上也动了大手术,2025 年元旦就换了总裁,让 “实战派” 杨浩成掌舵。

渠道端往下沉,盯着县域市场搞 “千城万店”;海外端往外闯,2025年7月直接收购智利建材超市,想用拉美市场复制国内经验。
这波操作完美契合了李卫国办公室挂的曾国藩箴言:“物来顺应,既往不恋”—— 不纠结过去的亏损,只抓当下能救命的事。
行业洗牌进行时:
弱者出局,强者拼 “转型速度”
这场寒冬早就不是 “熬一熬就过去” 的节奏,而是 “不转型就出局” 的生死战。
中小企业最先扛不住:2024年29家陶瓷企业关门,惠达卫浴1元甩卖亏损子公司,债权打五折都没人要。
头部企业都在抢赛道:东方雨虹搞研发,新出的超疏水涂层能让建筑寿命延长50年;华润建智能工厂,封开、合浦基地都评上了***智能工厂,还在ESG榜单排第五。连水泥企业都跨界搞光伏,给厂房装太阳能板,就为多挣点 “过冬钱”。

政策也在 “倒逼升级”:六部门要求2026年绿色建材营收超3000亿,还推 “零碳工厂” 标准。华润的绿色矿山、东方雨虹的环保涂料,都是提前踩准了政策风口。

飞来视点:活下去,才配谈发展
从华润甩卖资产到李卫国凌晨回国,建材圈的每一次自救,仿佛都在印证李卫国的生存哲学:生存是第一要务,没了当下,何谈未来。
现在行业里,有人忙着 “割肉止血”,有人忙着 “换道超车”,但不管选哪条路,都是在为 “活下去” 拼尽全力。
就像曾国藩说的 “当时不杂”,建材企业现在最该做的就是心无旁骛抓生存:华润聚焦核心业务是对的,东方雨虹死磕现金流也没错。
毕竟寒冬里,能保住命,等春天来的时候才有机会长更高。
特别声明:以上内容(如有图片或视频亦包括在内)为自媒体平台“真相网”用户上传并发布,本平台仅提供信息存储服务。
评论跟贴
网友评论仅供其表达个人看法,并不表明本站立场。